| Обозначение модификации | Размер, мм | Кол-во вводов, до |
Максимальное кол-во контактов |
| КМ-О IP66 1010 нерж. | 103х103х62 | 4 |
8 или 14* |
Предназначены для соединения и разветвления огнестойких кабельных линий. Применяются для монтажа внутри помещений и на открытом воздухе.
Корпус изготовлен из листовой нержавеющей стали AISI 304 толщиной 1,2 мм.
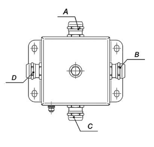
Корпус коробок монтажных огнестойких из нержавеющей стали имеет прямоугольную или квадратную форму. Крышка герметично прилегает к корпусу за счёт соединения винтами и уплотнительной силиконовой прокладки. Внутри корпуса располагаются керамические клеммные колодки. На крышке и корпусе располагаются заземляющие зажимы «РЕ».
В боковых стенках установлены кабельные вводы из нержавеющей стали, обеспечивающие степень защиты не ниже IP66.
Особенность
Коробки монтажные огнестойкие изготовлены из нержавеющей стали марки AISI 304, которая обладает химической и коррозионной стойкостью, высокой прочностью, а также имеет превосходные низкотемпературные свойства. Концы винтов на клеммной колодке имеют округлую форму, что позволяет зафиксировать провода без повреждений. Клеммные колодки из керамики обеспечивают надёжное соединение в условиях пожара. Все наружные элементы крепления выполнены из нержавеющей стали.
Коробки сертифицированы на соответствие требованиям технического регламента: ТР ТС 004/2011 «О безопасности низковольтного оборудования».
ТУ 3449-005-70631050-2009.
Характеристики
Степень защиты: IP66.
Огнестойкость в составе кабельной линии: 60 минут.
Номинальное напряжение клемм: 450 В.
Диапазон температур окружающей среды при эксплуатации: от -40 до +130°С.
Диапазон внешних диаметров присоединяемого кабеля (выбирается при заказе): М16(4-8), М20(6-12), М25(13-18) мм.
Номинальная соединительная способность клемм (выбирается при заказе): 3.0, 6.0, 10.0 мм2.
Климатическое исполнение по ГОСТ 15150: УХЛ 1, УХЛ 5, УТ1, УТ5, ОМ 1, ОМ 5.
Обозначение вводов
| Габаритный размер | 103х103х62 мм |
| Диапазон диаметров присоединяемого кабеля | М20(6-12) |
| Кабельные вводы | из нержавеющей стали под кабель с внешним диаметром 6-12 мм (иного диаметра по требованию заказчика) |
| Климатическое исполнение по ГОСТ 15150 | УХЛ 1, УХЛ 5, УТ1, УТ5, ОМ 1, ОМ 5 |
| Кол-во контактов | 14 |
| Количество вводов | 4 |
| Масса, не более | 0,9 кг |
| Материал корпуса | нержавеющая сталь |
| Номинальная соединительная способность клемм | 3.0 |
| Номинальное напряжение клемм | 450 В |
| Обозначение | КМ-О (14к)-IP66 1010нерж, 4 ввода |
| Степень защиты | IP66 |
| Температура эксплуатации | - 40ºС до +130ºС |
| Типоразмер | 1010 |
OKЛ
Минимально возможное и максимально возможное сечение который может зажать керамическая клемма от 0,7 -до 3 для клеммы на 3 мм², от 0,7 -до 6 мм для клеммы на 6 мм², от 1 -до 10 для клеммы на 10 мм².
