| Обозначение модификации | Размер, мм | Кол-во вводов, до | Максимальное кол-во контактов |
|
КМ-О IP66 1212 |
123х123х62 | 8 | 16 |
Предназначены для соединения и разветвления огнестойких кабельных линий. Применяются для монтажа внутри помещений и на открытом воздухе.
Корпус изготовлен из листовой конструкционной стали Ст3 толщиной 1,2 мм, имеет защитное оцинкованное покрытие и окрашен полимерной краской в белый цвет RAL 9016.
Конструкция
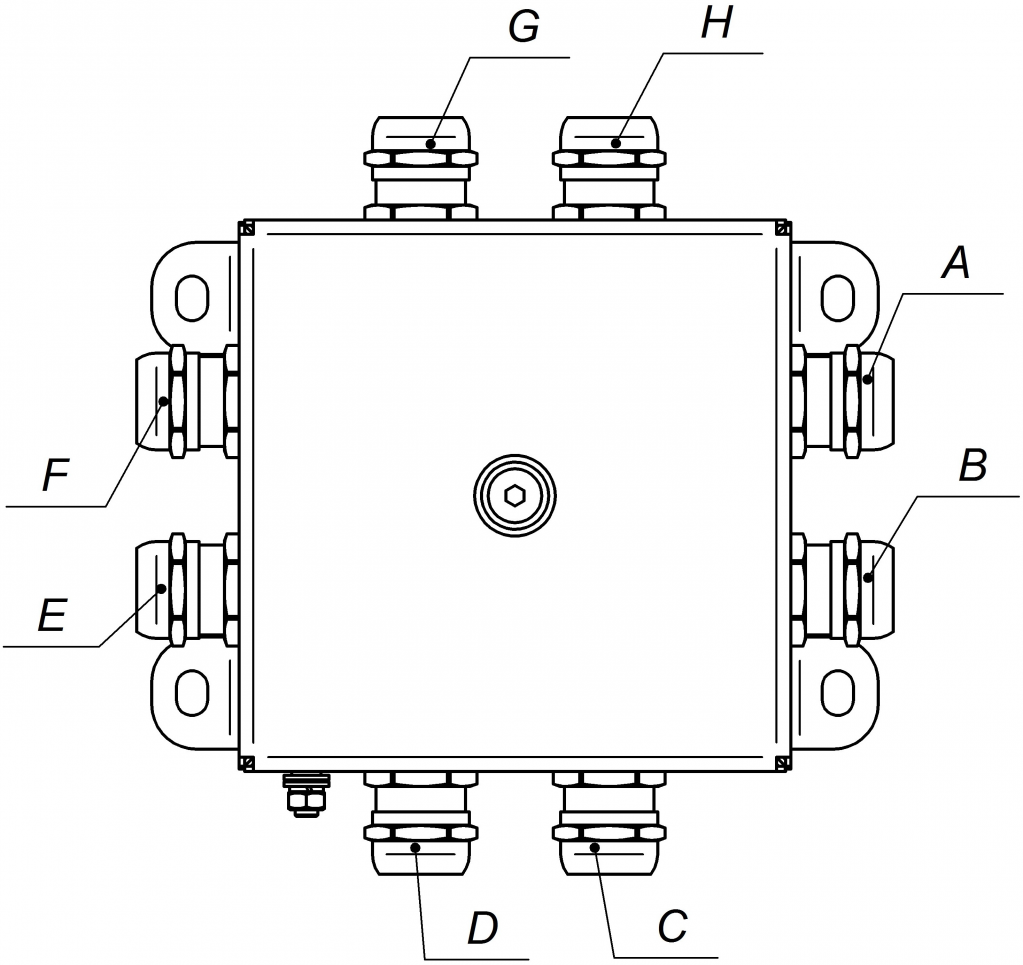
Корпус коробок монтажных огнестойких имеет прямоугольную или квадратную форму. Крышка герметично прилегает к корпусу за счёт соединения винтами и уплотнительной силиконовой прокладки. Внутри корпуса располагаются керамические клеммные колодки. На крышке и корпусе располагаются заземляющие зажимы «РЕ». В боковых стенках установлены кабельные вводы из нержавеющей стали, обеспечивающие степень защиты не ниже IP66.
Особенность
Коробки монтажные огнестойкие имеют повышенную коррозионную стойкость за счёт гальванической обработки и полимерного покрытия. Концы винтов на клеммной колодке имеют округлую форму, что позволяет зафиксировать провода без повреждений. Клеммные колодки из керамики обеспечивают надёжное соединение в условиях пожара. Все наружные элементы крепления выполнены из нержавеющей стали.
Коробки сертифицированы на соответствие требованиям технического регламента: ТР ТС 004/2011 «О безопасности низковольтного оборудования».
Характеристики
Степень защиты: IP66.
Огнестойкость в составе кабельной линии: 60 минут.
Номинальное напряжение клемм: 450 В.
Диапазон температур окружающей среды при эксплуатации: от -40 до +130°С.
Диапазон внешних диаметров присоединяемого кабеля (выбирается при заказе): М16(4-8), М20(6-12), М25(13-18) мм.
Номинальная соединительная способность клемм (выбирается при заказе): 3.0, 6.0, 10.0 мм2.
Климатическое исполнение по ГОСТ 15150: УХЛ 1, ОМ 1.
Обозначение вводов
Размер и вес транспортной упаковки. Количество изделий в упаковке.
|
Обозначение модификации |
Размер*, мм |
Вес до, к г |
Количество в упаковке, шт |
Вес упаковки, кг |
Размер упаковки, мм |
|
КМ-О IP66-1212 |
123х123х62 |
1,6 |
8 |
9,2 |
360 х 360 х 160 |
| Габаритный размер | 123х123х62 мм |
| Диапазон диаметров присоединяемого кабеля | М20(6-12) |
| Кабельные вводы | из нержавеющей стали под кабель с внешним диаметром 6-12 мм (иного диаметра по требованию заказчика) |
| Климатическое исполнение по ГОСТ 15150 | УХЛ 1, ОМ 1 |
| Кол-во контактов | 12 |
| Количество вводов | 8 |
| Материал корпуса | оцинкованная сталь |
| Номинальная соединительная способность клемм | 3.0 мм2 |
| Номинальное напряжение клемм | 450 В |
| Обозначение | КМ-О (12к)-IP66 1212, 8 вводов |
| Степень защиты | IP66 |
| Температура эксплуатации | - 40ºС до +130ºС |
| Типоразмер | 1212 |
